cub cadet fuel line diagram

This job is eas. Use our part lists interactive diagrams accessories and expert repair advice to make your repairs easy.


Cub Cadet Electric Fuel Pump Removal 3000 Series Youtube

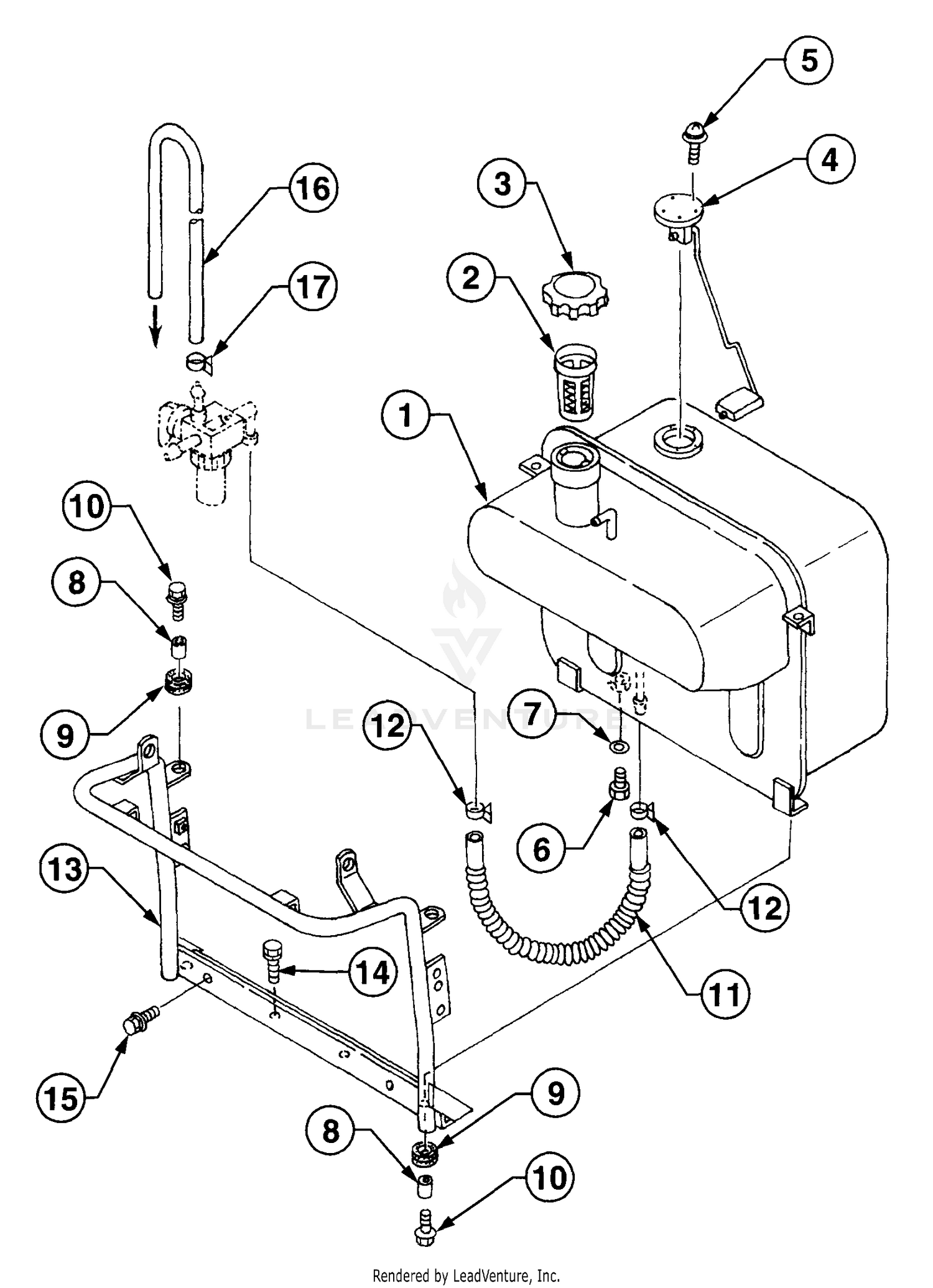
Cub Cadet 154 Cub Lo-Boy Tractor Parts.

. Use your fuel line diagram to install the remaining new lines. All Parts Backed by Our Right Part Pledge. Due to gummy deposits fuel line gets blocked.

Need to fix your CC4125 41BDC42C712 2009 Gas String Trimmer. Ad Need Cub Cadet Mower Repair Help. Get Help in Mins.

Lookup Parts via Diagram. Free shipping on parts orders over 45. Make sure theyre pressed on about as far onto the fitting as they can go so.

EFI provides reliable starting and IntelliPower. Install in-line fuel filters where applicable and change them regularly to help prevent any contaminants that do get inside the fuel system from reaching the carburetor. Ad Find your Cub Cadet Spark Plug Air Filter Fuel Filter Carburetor and More.

2679 Fuel Line Specs Maintenance Reviews. Electrical wiring diagrams may be found in the Operators Manual. Use our part lists interactive diagrams accessories and expert repair advice to make your repairs easy.

Fuel lines can be pressed onto their fittings by hand. You Talk to Verified Experts Online. Should you be unable.

Click to Chat with Verified Experts Get Help Now. Select the model and year then browse the parts diagrams to find the right part. We highly recommend that you verify which part is correct for your particular Cub unit using our convenient Cub Cadet Parts Diagrams and Lookup Tools.

Simple Processing We recommend you verify which part is correct for your particular Cub Cadet unit. Up to 32 cash back Use our parts diagram tool below to find the parts you need for your machine. Up to 32 cash back Read reviews and buy FUEL LINE KIT951-10364.

Shop Cadet Mower Parts today for your OEM Cub Cadet Fuel Tanks fuel line and other fuel system parts and save. Attachments and accessories with the Cub Cadet Right Part Pledge. Its derived from out-of-date fuel.

STENS 115-295 NEOPRENE FUEL LINE 14 ID X 12 OD X 25 FT for Cub Cadet - ID14 - Black - Neoprene cover - Oil and gas resistant - Reinforced for strength - Used on most tractor. By isolating the line section you can recognize the plugged. In this video Im going to show you how to remove the gas tank from a Cub Cadet riding lawn mower and replace the fuel line and fuel filter.

Replacing trimmer fuel lines is a common repair and this video shows viewers the steps to replace trimmer fuel system parts at homeVisit httpeReplacemen. Order Parts Online With Confidence At PartsTree. More in-depth electrical troubleshooting information may also be found in the Professional Shop.

Free shipping for orders 75 or more. Ad Parts for All 1X 2X and 3X Models. Up to 32 cash back A Powerful New Addition Cub Cadet electronic fuel-injected EFI engines set new standards in strength and power.

Anyway the fuels carry ethanol. Up to 32 cash back Fuel Line. How do You Fix Cub Cadet Products.

OEM Replacement Parts for all Single-Stage Two-Stage and Three-Stage Models. Same Day Shipping Most Orders.


Cub Cadet M60 Kh 53ab5bdx750 Tank 27 Hp Kohler 53ab5bdx750 Fuel Tank Assembly


Carburetor Fits Cub Cadet Gt1554 Gt 1554 Lt1050 Lt 1050 Slt1554 Slt 1554 Tractor By The Rop Shop Amazon Ca Everything Else


Cub Cadet I1042 Zero Turn Riding Mower Partswarehouse


Cub Cadet 7360ss Tractor 54a 458d100 590 603 100 Tractor Fuel Line


Cub Cadet How To Change The Fuel Filter Youtube


Cub Cadet Tractor 2165 Ereplacementparts Com


Kohler Sv470 0010 Cub Cadet 15 Hp 11 2 Kw Parts Diagram For Fuel System 8 20 3


Cub Cadet Xt1 Lt46 Lawn Tractor Cub Cadet Us


Cub Cadet Xt2 Lx42 Kh Tractor 13apa1cs210 2016 Carb Fuel Tank


Cub Cadet Rzt Sx 46 Efi Fab 17awcbyn010 2018 Fuel Tank


Cub Cadet Lt1018 Tractor 13ab11cg710 13ab11cg712 13al11cg710 13al11cg712 13ax11cg710 Lt1018 13ax11cg712 Lt1018 Kohler Engine Carburetor Fuel Pump


Cub Cadet Rzt 42 17ae2acg710 Cub Cadet 42 Rzt Zero Turn Mower Kohler 2007 Fuel System Parts Lookup With Diagrams Partstree


Kohler Ch22 76556 Limited Warranty 3 Yrs Residential 3 Yrs Commercial Cub Cadet 22 Hp 16 4 Kw Parts Diagram For Fuel System Group 8 24 420


Cub Cadet 7300 Tractor 54a 437d100 Fuel Line Shank 39 S Lawn Cub Cadet


Cub Cadet 7300 Tractor 54a 437d100 Fuel Line Shank 39 S Lawn Cub Cadet


Cub Cadet Lawn Tractors Cc 1022 13af11cg603 2008 Fuel Hose Spareparts


Cub Cadet Lt1042 Tractor 2008 After 13ax11cg010 Kohler Sv590 0003 Sv600 0009 Fuel System

Iklan Atas Artikel

Iklan Tengah Artikel 1

Iklan Tengah Artikel 2

Iklan Bawah Artikel